// Check if the article Layout ?>
Kraftwerk in Nadelstreifen: Grosspeter Tower in Basel
Foto: Adriano Biondo
Nachhaltig in jeder Hinsicht sollte er sein, der Grosspeter Tower, den Burckhardt + Partner im Auftrag der PSP Swiss Property am südöstlichen Stadteingang von Basel geplant haben. Die insgesamt 18000 Quadratmeter Mietflächen entfallen zu zwei Dritteln auf Büros und zu einem Drittel auf ein Hotel, das sich in dem sechsgeschossigen Gebäudesockel eingemietet hat. Die etwas eigentümliche Gebäudeform, bei der der die Ecke des Hochhauses über dem ersten Obergeschoss um fast neun Meter auskragt, war dem Bebauungsplan geschuldet: Unmittelbar südlich am Gebäude führen eine Erschließungsstraße und die Bahnstrecke vorbei, für die in den unteren Geschossen entsprechend Platz freigehalten werden musste.
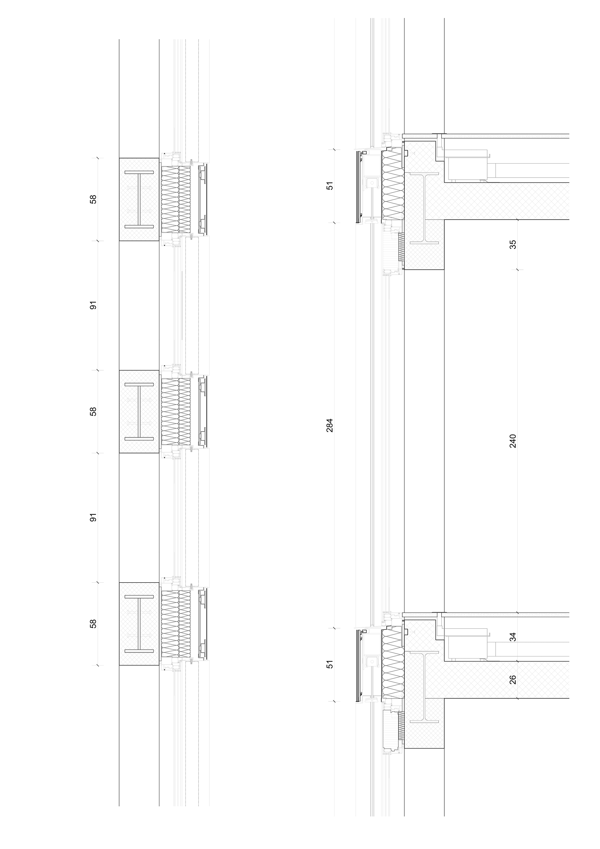
Die Fassadengestaltung überspielt diese Unregelmäßigkeit mit bemerkenswertem Ebenmaß und ausgewogenen Proportionen: Sockel und Turm erhielten gleichermaßen Lochfassaden mit hochrechteckigen Fenstern, deren Größe nach oben hin zunimmt. Mit dieser sukzessiven Auflösung in Glasflächen entspricht die Fassadengestaltung auch dem Kräfteverlauf des Stahltragwerks, das aus Vierendeelträgern in Fassadenebene gebildet wird.
Die anthrazitfarbene Fassadenverkleidung erinnert aus der Ferne an Metallpaneele oder bedrucktes Glas. Es handelt sich jedoch um 10.000 Dünnschicht-Solarmodule, die in 450 unterschiedlichen Größen angefertigt werden mussten, um der Fassadengliederung zu folgen. Insgesamt erreicht die fassadenintegrierte Solaranlage 440 kWp Leistung. Gemeinsam mit den 100 kWp Solarmodulen auf dem Dach sollen sie pro Jahr etwa 260000 Kilowattstunden Strom produzieren. Das entspricht fast zwei Dritteln des Strombedarfs im Gebäude für Wärme, Kälte, Lüftung, Aufzüge und die Grundbeleuchtung. Bezogen auf den Gesamtenergiebedarf einschließlich Nutzerstrom erreicht das Gebäude eine Deckung von 28%. Wärme und Kälte liefert ein Erdsondenfeld mit 56 durchschnittlich 250 m tiefen Sonden im Zusammenspiel mit Wärmepumpen.
2017 erhielt der Grosspeter Tower für sein beispielhaftes Solarkonzept den Schweizer Solarpreis in der Kategorie »Neubauten«.
Die Fassadengestaltung überspielt diese Unregelmäßigkeit mit bemerkenswertem Ebenmaß und ausgewogenen Proportionen: Sockel und Turm erhielten gleichermaßen Lochfassaden mit hochrechteckigen Fenstern, deren Größe nach oben hin zunimmt. Mit dieser sukzessiven Auflösung in Glasflächen entspricht die Fassadengestaltung auch dem Kräfteverlauf des Stahltragwerks, das aus Vierendeelträgern in Fassadenebene gebildet wird.
Die anthrazitfarbene Fassadenverkleidung erinnert aus der Ferne an Metallpaneele oder bedrucktes Glas. Es handelt sich jedoch um 10.000 Dünnschicht-Solarmodule, die in 450 unterschiedlichen Größen angefertigt werden mussten, um der Fassadengliederung zu folgen. Insgesamt erreicht die fassadenintegrierte Solaranlage 440 kWp Leistung. Gemeinsam mit den 100 kWp Solarmodulen auf dem Dach sollen sie pro Jahr etwa 260000 Kilowattstunden Strom produzieren. Das entspricht fast zwei Dritteln des Strombedarfs im Gebäude für Wärme, Kälte, Lüftung, Aufzüge und die Grundbeleuchtung. Bezogen auf den Gesamtenergiebedarf einschließlich Nutzerstrom erreicht das Gebäude eine Deckung von 28%. Wärme und Kälte liefert ein Erdsondenfeld mit 56 durchschnittlich 250 m tiefen Sonden im Zusammenspiel mit Wärmepumpen.
2017 erhielt der Grosspeter Tower für sein beispielhaftes Solarkonzept den Schweizer Solarpreis in der Kategorie »Neubauten«.
Weitere Informationen:
Projektmanagement / Bauleitung: Dietziker Partner Baumanagement AG, Basel
Tragwerksplanung: ZPF Ingenieure, Basel
Elektroplanung: Scherler AG, Basel
HLKKS/ GA-Planung: Gruner Gruneko AG, Basel
Fassadenplanung: Neuschwander + Morf AG, Basel
Solarplanung: energiebüro AG, Zürich
Projektmanagement / Bauleitung: Dietziker Partner Baumanagement AG, Basel
Tragwerksplanung: ZPF Ingenieure, Basel
Elektroplanung: Scherler AG, Basel
HLKKS/ GA-Planung: Gruner Gruneko AG, Basel
Fassadenplanung: Neuschwander + Morf AG, Basel
Solarplanung: energiebüro AG, Zürich




























